这5款“飞车”未来有可能彻底改变你的出行方式(组图)
2016-09-09 16:19来源:工业头条作者:编译:刘一昕
忘记无人驾驶的Uber吧!美国新闻资讯网站Business Insider日前刊登了一篇文章,盘点了近几年发展迅速的5款“会飞的出租车”,并称这几款车将有可能彻底变革全球的交通现状和人类的出行方式。从《回到未来》中可自行驾驶的飞行汽车到会飞的出租车,它们都可以让你比想象中更快地到达目的地。

1.德国公司eVolo正在研发的多螺旋桨无人机Volocopter拥有18个螺旋桨,可以搭载2人。Volocopter使用6块电池作为动力,可以持续飞行20分钟,但eVolo正在研究如何延长其续航能力,有望其最终的飞行时间可达1小时。eVolo已经开始在德国进行载人测试,并计划在2年内推出量产型Volocopter。Volocopter的最终版本时速可达100公里,它将搭载20台独立电脑,帮助实现自动飞行。


2.空客这个全球知名飞机制造商正在设计一款名为CityAirbus的飞行出租车。以后,你可以像Uber打车那样呼叫CityAirbus来接你。尽管空客官方还没有公布任何消息,但其在公司网站上写道,这个飞车的可行性研究已经完成。

3.中国无人机公司亿航(EHang)正在研发的巨型出租车无人机可以升空,不过前提是获得监管机构的批准。据了解,它可以携带100公斤重量,时速100公里,飞行高度3353米。亿航也拥有类似Uber的系统,乘客只要输入目的地,这款无人机就可自己将乘客送达。亿航无人机的原型已经在中国测试,但该公司正寻求获得美国联邦航空管理局的批准,以便开始在美国飞行。



4.美国Terrafugia公司正在研发能够自动起飞、飞行以及着陆的飞行汽车,但你依然可以手动驾驶。这种插电式混合飞行汽车巡航里程可达800公里,就像TriFan 600那样,它可垂直起飞,因此你不必准备跑道。Terrafugia有望在2025年实现量产。



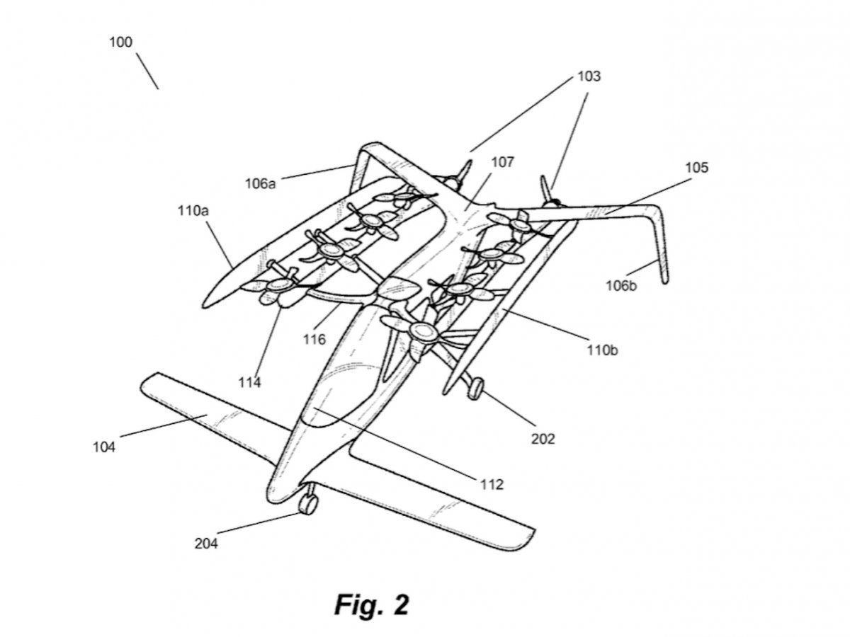
5.谷歌联合创始人、谷歌母公司Alphabet的CEO拉里·佩奇(Larry Page)已经向飞行汽车初创企业Zee. Aero投资了1亿美元。这家公司已经有两种原型电动飞机,并定期进行测试飞行。但是这家公司相当神秘,目前还没有太多相关信息透露给外界。图中是2016年1月份被批准的飞行汽车的早期专利。

责任编辑:刘一昕

您可能更感兴趣的文章
- · 解锁无人驾驶连续掘进新能力,中铁装备迈出关键一步2026-01-30
- · 首台KA认证矿用锂离子无人驾驶电机车成功交付!湘电重...2025-10-30
- · 汗水浇灌技术之花!湘电电控技术团队攻克通信难题 护航...2025-09-03
- · 易控智驾完成超4亿元D轮融资!溥泉资本及宁德时代领投,...2025-06-30
- · 中科慧拓与德兴铜矿签署“电动轮汽车无人驾驶系统项目”2025-06-26
正在加载评论数据,请稍候...




正在加载评论数据,请稍候...























